8.7.5版本更新说明(预发布)

声明:以下为预发布内容,届时会根据实际情况进行调整,请以全网时正式发布的说明为准。

8.7.5版本更新说明

1 营销管理

1.1 营销通

1、数字展厅微站和微页面装修全新升级

发布状态 全网

对现有系统影响 无影响

场景及价值描述

使用场景:企业可以通过品牌数字展厅微站进行展示和推广产品、企业信息等内容,本次更新在微站和微页面展示内容的自由度和美观度均有所提升,支持更多风格与形式的微站呈现,以承载企业品牌风貌,并提供了更好的用户体验。
价值说明:全面提升了数字展厅微站颜值,为更好的品牌曝光和用户互动提供良好基础。
功能:在排版调整、样式设置、元素添加等方面的优化,包括以下优化点:
(1)小程序微站支持多菜单预览功能;
(2)数字展厅微站tab支持自定义样式;
(3)数字展厅微站支持弹窗以及弹窗后动作;
(4)增加浮层按钮的布局样式;
(5)增加视频的布局样式;
(6)增加按钮布局的样式选择;
(7)内容/活动组件:新增布局和优化;
(8)导航布局组件:增加tab导航布局的样式选择;
(9)表单添加组件自动下移叠加;
(10)表单单选多选组件支持横向平铺;
(11)页面背景增加轮播图;
(12)增加顶部栏设置:颜色,标题,自定义按钮;
(13)自定义布局支持幻灯片组件。

产品示例图

产品示例图URL
产品示例图URL
产品示例图URL
产品示例图URL
产品示例图URL
产品示例图URL
产品示例图URL
产品示例图URL
产品示例图URL
产品示例图URL
产品示例图URL
产品示例图URL
产品示例图URL
产品示例图URL
产品示例图URL

2、微页面表单组件支持自定义apiname

发布状态 全网

对现有系统影响 无影响

场景及价值描述

场景:在用SDK插入表单数据,或者是将提交表单数据传递给CRM函数使用时,可自定义设置统一多个表单字段的apiname,通过一套代码处理即可,避免由于每个表单字段apiname不同而写多套代码。
功能:在微页面表单组件中,可自定义命名设置字段apiname。
价值:进一步增强营销aPaas能力,灵活支持内外部系统使用微页面的场景。

产品示例图

产品示例图URL

3、官网表单嵌入区分嵌入场景

发布状态 全网

对现有系统影响 无影响

场景及价值描述

场景:此前由于无法区分表单嵌入场景,因为无法明确记录的转化页是在用户访问的当前页面还是新开页面。本次更新后,在埋码时就区分场景,从而避免转化页记录错误。
功能:官网>官网运营>网站设置>官网获取线索>添加线索表单>嵌入官网,选择嵌入场景和嵌入样式,可获取对应场景ID。

产品示例图

产品示例图URL

4、线索更新访客字段时支持关联营销用户

发布状态 全网

对现有系统影响 无影响

场景及价值描述

场景:适用企业用户体系与营销通营销用户身份对接的场景。例如,企业有自己的用户体系,用户可通过官网进行登录。营销通通过官网SDK可记录官网访客的访问行为,但由于访客身份会随Cookie的更新而更新,因此,需要企业在每次营销通访客id更新时,重新更新线索上的访客id,以便营销通能获取最新的访客id身份,将其与线索营销用户身份关联,从而能将访客在官网最新的访问行为记录在同一个营销用户身上。
功能:通过纷享开放平台销售线索api接口更新【访客】字段时,营销通会将该【销售线索】和【访客】合并为同一个营销用户,确保所有营销行为均记录在同一营销用户上。
价值:构建内外互通的用户身份体系,完善营销中台构建。

2 渠道管理

2.1 合作伙伴

1、合作伙伴、合作伙伴地址 移动端列表页布局设计器-适配高级布局

发布状态 计划发布

对现有系统影响 体验变更

场景及价值描述

使用场景:新开租户初始化逻辑
价值说明:预设最佳UI展示作为初始化布局配置给新租户
功能介绍:合作伙伴、合作伙伴地址 移动端列表页布局设计器-适配高级布局

产品示例图

产品示例图URL
产品示例图URL

2、线索转合作伙伴,自动回填工商

发布状态 全网

对现有系统影响 体验变更

场景及价值描述

使用场景:转换为合作伙伴时 合作伙伴名称有值,没有字段失焦动作 没办法直接回填工商信息吗?
价值说明:线索转换为合作伙伴时,自动回填信息,提升信息自动写入效率
功能介绍:线索转合作伙伴,自动回填工商

3 销售管理

3.1 营销政策

1、价格政策简易模式下买赠促销支持设置本品必含

发布状态 计划发布

对现有系统影响 无影响

场景及价值描述

使用场景:高级模式下可以通过设置多个聚合值条件来实现自由组合促中某些本品必须满足一定条件,比如:饮料类产品满10箱可赠1个蛋糕,其中苹果汁至少要有2箱。需要简易模式下也能方便地设置。
价值说明:简易模式下也能快捷配置买赠活动的本品是否必含,简化操作,让简易模式支撑更多促销场景。
功能介绍:
价格政策简易模式下,买赠类的产品促,数量类型为【合计满】的情况下,各本品可配置【必选】和【必选数量】

产品示例图

产品示例图URL

2、下单时支持查看价格政策的【政策说明】

发布状态 计划发布

对现有系统影响 无影响

场景及价值描述

使用场景:有时企业会把促销的一些具体限制、优惠方式都写在说明里,买方门店很多是老年人,看规则化的语言不好理解,同时有时系统无法支持的促销方式是靠人为把控的,写出来可作为后续控制的依据
价值说明:在下单时能更直观地了解促销政策的细节内容,提高下单的体验和效率
功能介绍:下单时更换促销的界面上可查看价格政策的【政策说明】

3、优惠券方案支持设置与促销返利互斥

发布状态 计划发布

对现有系统影响 无影响

场景及价值描述

使用场景:企业的营销手段众多,如果各种优惠同时享受可能超出企业预期,有时需要一定控制,比如享受促销了就不能用某种优惠券了,用了返利就不能用券了等。
价值说明:限制优惠券与促销返利互斥,可减少叠加优惠带来的实际成交价过低的隐患
功能介绍:优惠券方案上可设置 是否与价格政策/返利互斥,如互斥则:匹配了促销/用了返利 就不能用该优惠券

4、优惠券的复杂产品条件支持按聚合规则设置

发布状态 计划发布

对现有系统影响 无影响

场景及价值描述

使用场景:优惠券的可用条件需要按品类设置,有时品类内还要有例外,有时还要 多品类指定各自的必含数量,比如,只有饮料类产品满100箱才能用某种券;或者,牛奶类产品中的新品要满10箱才能用某券;或者,橙汁单品满100箱 或 牛奶类满50箱 都能用某券
价值说明:优惠券的复杂产品条件不仅支持按单品设置必含,还能按任意规则指定必含品的范围,满足更多优惠券使用场景
功能介绍:
1、聚合规则的“聚合结果类型”增加“优惠券可用范围”
2、优惠券实例的复杂产品条件支持按“具体产品”或“优惠券可用范围类型的聚合规则”来设置;
3、优惠券方案名称支持重复

产品示例图

产品示例图URL

5、优惠券的复杂产品条件支持设置产品总数量条件

发布状态 计划发布

对现有系统影响 无影响

场景及价值描述

使用场景:目前优惠券的使用门槛是指产品条件中设置的产品的总金额,但有时金额不需要严格限定,而更关注产品数量,比如:果汁类产品要满10箱+盒装奶类要满10箱+所有液态产品要满50箱就能用某券
价值说明:优惠券可按指定产品的总数量限定使用门槛,满足更多优惠券使用场景
功能介绍:优惠券方案的复杂产品条件支持设置【产品总数量】的条件

6、下单用券时支持直接领券和自动用最优券

发布状态 计划发布

对现有系统影响 无影响

场景及价值描述

使用场景:目前买方领券是在独立的领券中心,如果不知道有待领券,下单时可能错过券错过优惠;就算是知道有券,如果没有提前领取,下单时选够了产品,还需要退出订单界面到领券中心领完再回到订单用券,操作步骤多过程繁琐,需要简化。
价值说明:下单时能直接自动使用最优惠的券,以及提示有券待领取,让用券下单操作更加流畅,下单环节更为闭环,提升用户下单体验。
功能介绍:
1、订货通小程序内,从购物车进入订单结算页,如果当前订单有可用的券,则自动使用最优惠的那张券;售中提供对应能力,各个应用可自由决定是否调用;
2、无论是订货通还是标准产品,下单时如果当前没有可用的券,但有未领取的券,则提示有券待领券;
3、使用优惠券的界面,显示【可用券】、【不可用券】和【待领取】三种券;
4、使用优惠券的界面,【待领取】的券可直接【领取】,领取后在原位置显示,同时更新可用状态;
5、互斥的券有明显图标标识出来,点击选用则弹出提示告知不可用及原因

3.2 交易单据

1、增加开关配置,取消价目表明细浮动上下限强制校验

发布状态 全网

对现有系统影响 逻辑变更

场景及价值描述

使用场景:极个别门店因为特殊原因允许低于价目表的“浮动下限价格”,但是需要审批,需要允许输入低于价目表的“浮动下限价格”的价格
价值说明:灰度项转线上化,为用户提供更加便捷、灵活的用户体验。用户可以随时随地进行此能力的使用,无需受限于时间和空间
功能介绍:开关外漏:增加开关配置,取消价目表明细浮动上下限强制校验

注:开关配置,可以根据业务场景反复开启;

产品示例图

产品示例图URL

4 SCRM

4.1 SCRM

1、好友同步条件需要可筛选“标签”字段

发布状态 灰度

对现有系统影响 体验变更

场景及价值描述

功能介绍:在后台企业微信绑定页面中的【企微好友数据同步】中,好友的筛选条件中把“标签”露出来,满足客户自由的筛选需要。

产品示例图

产品示例图URL

2、通过纷享销客CRM应用获取企微好友关系相关数据(增量)

发布状态 计划发布

对现有系统影响 逻辑变更

场景及价值描述

使用场景:使用企微SCRM时
价值说明:客户可按需采购SCRM产品组合,不再将「营销通」作为绑定产品
功能介绍:以往需要依赖「营销通」应用获取企微员工与客户的好友关系、企微客户、企微客户群的相关数据,因此客户必须下单营销通订单,本版本更新后可通过「纷享销客CRM」应用获取以上数据,客户不必必须下单「营销通」

3、通过纷享销客CRM应用获取企微好友关系相关数据(存量)

发布状态 计划发布

对现有系统影响 体验变更

场景及价值描述

使用场景:同步企微历史数据
价值说明:同步绑定企微前企微中的存量好友数据
功能介绍:客户下单SCRM并绑定/反绑定企业微信后,同步绑定前企微中存量的企微客户、客户群、好友关系数据,该功能为灰度项

产品示例图

产品示例图URL

5 PaaS平台

5.1 对象管理

1、编辑支持保存草稿

发布状态 灰度

对现有系统影响 无影响

场景及价值描述

使用场景:编辑数据时
价值说明:整体解决了客户在大量数据需要编辑,因操作不当导致全部内容丢失的问题,提高了用户的使用体验
功能介绍: WEB/手机端编辑页新增按钮【保存草稿】,点击可存置【草稿箱】

产品示例图

产品示例图URL

2、移动端支持批量打印

发布状态 计划发布

对现有系统影响 无影响

场景及价值描述

使用场景:移动端支持批量打印
价值说明:对其web端打印功能
功能介绍:

  1. 移动端放开批量【打印】按钮
  2. 点击批量打印按钮,进入【打印设置】页面
  3. 点击预览或打印,将多条数据生成一个PDF文件,文件名称取打印模版设置的名称,未设置名称默认取【对象名称】

5.2 流程管理

1、编辑触发-审批内容,从对象遵循字段权限控制

发布状态 全网

对现有系统影响 逻辑变更

场景及价值描述

使用场景:编辑触发-审批,编辑从对象内容时
价值说明:编辑审批内容遵循字段权限控制,精确到从对象字段

产品示例图

产品示例图URL

2、更多提醒_邮件提醒,增加「多邮箱_发件人」

发布状态 全网

对现有系统影响 逻辑变更

场景及价值描述

使用场景:审批流/业务流_节点,配置 更多提醒_邮件提醒
价值说明:更多提醒_邮件提醒,支持选择「多邮箱_发件人」,支撑企业多业务单元下的邮件发送

产品示例图

产品示例图URL
产品示例图URL

3、后动作_邮件提醒,选人-支持关联对象人员字段

发布状态 全网

对现有系统影响 逻辑变更

场景及价值描述

使用场景:工作流-后动作_邮件提醒,指定收件员工或用户组 选择 相关对象变量
价值说明:工作流-后动作_邮件提醒,允许对关联对象下的人员字段进行选择,更灵活地选择需要通知的人员,提高消息触达的便捷性

产品示例图

产品示例图URL

5.3 界面定制

1、web后台应用菜单配置优化:增加全选check

发布状态 全网

对现有系统影响 体验变更

场景及价值描述

使用场景:web后台应用菜单配置优化:增加全选check
价值说明:持续打磨常用控件操作体验,提升后台操作人员选择菜单的效率

2、移动端顶部导航页签优化

发布状态 全网

对现有系统影响 体验变更

场景及价值描述

使用场景:移动端顶部导航页签优化
价值说明:持续打磨常用控件操作体验,提升操作人员的使用效率
功能介绍:在后台,开启移动端顶部导航标签能力,目前前端页签为左右切换查看,此次优化组件能力,将更多菜单内容显示在下拉浮层里

产品示例图

产品示例图URL

5.4 开发平台

1、UI事件执行后从对象支持计算(计算,统计,默认值)

发布状态 灰度

对现有系统影响 逻辑变更

场景及价值描述

使用场景:主对象执行UI事件时
价值说明:减少函数量,提高实施效率
之前:UI事件修改了主对象和从对象数据以后,只计算了主对象的统计字段和计算字段。
此功能:
1.UI事件执行后,若更改的字段触发了从对象中【计算】、【统计】、【默认值】值的变化,支持自动计算
2.默认值为空,会自动填充。默认值有值,不做修改。

2、函数创建数据支持计算(计算、统计、默认值)

发布状态 灰度

对现有系统影响 逻辑变更

场景及价值描述

使用场景:通过函数创建数据时
价值说明:减少函数量,提高实施效率
功能介绍:
1.新建数据:
①新建数据后,若更改的字段触发了从对象中【计算】、【统计】、【默认值】值的变化,支持自动计算。
②默认值为空时,会自动填充。默认值有值时,不做修改。
2.更新数据:
①更新数据后,若更改的字段触发了从对象中【计算】、【统计】值的变化,支持自动计算
②不算默认值。

3、使用场景:强制通知提醒支持每月一次

发布状态 计划发布

对现有系统影响 无影响

场景及价值描述

使用场景:强制通知提醒,提醒评率增加每月一次。

4、计划任务执行条件支持选择定位类型字段进行筛选

发布状态 计划发布

对现有系统影响 无影响

场景及价值描述

计划任务的执行条件,支持选择到定位类型字段进行筛选数据。

5.5 社交协同

1、日志规则弹窗体验优化:形式优化为模态框

发布状态 全网

对现有系统影响 无影响

场景及价值描述

使用场景:日志规则一点到旁边区域设置规则的界面就自动关闭了
价值说明:提升现有日志规则使用体验,防止误操作
功能介绍:日志规则弹窗体验优化:形式优化为模态框

2、企信高频操作按钮支持二次编辑能力

发布状态 灰度

对现有系统影响 体验变更

场景及价值描述

使用场景:企信高频操作按钮支持编辑能力,可修改链接名称及链接地址
价值说明:补齐功能体验,提升操作效率

产品示例图

产品示例图URL
产品示例图URL

3、企信单人聊天提供高频操作按钮添加能力

发布状态 灰度

对现有系统影响 体验变更

场景及价值描述

使用场景:企信单人聊天提供高频操作按钮添加能力
价值说明:特定场景下,放开常用操作功能,方便用户使用,提升效率

产品示例图

产品示例图URL

4、移动端企信聊天,可完整上传9张图片

发布状态 全网

对现有系统影响 体验变更

场景及价值描述

使用场景:移动端企信聊天,可完整上传9张图片
价值说明:优化上传能力,可同时上传9张图片,小优化带来的上传效率提升

5.6 应用市场

1、应用市场中的应用详情页功能和体验优化

发布状态 灰度

对现有系统影响 体验变更

场景及价值描述

应用市场中的应用详情页功能和体验优化:应用详情页从侧滑页面改为独立完整页面,并简化进一步联系操作。

6 智能分析平台

6.1 统计图

1、统计表和统计图交叉表支持更多维度字段

发布状态 计划发布

对现有系统影响 无影响

场景及价值描述

统计表和统计图交叉表支持更多维度字段,可以提供更全面和准确的信息,帮助客户深入分析数据、做出决策,并提供战略性的指导

产品示例图

产品示例图URL
产品示例图URL

2、统计表和统计图交叉表支持自定义展示某层小计

发布状态 计划发布

对现有系统影响 无影响

场景及价值描述

统计表和统计图交叉表自定义展示某层分组小计,可以将复杂的数据进行层级分组和汇总,从而提供更详细、准确和有针对性的信息,帮助客户更好地了解业务情况、做出决策和制定战略

产品示例图

产品示例图URL
产品示例图URL

3、统计图支持多维度的同环比(维度中最多含一个日期字段)

发布状态 计划发布

对现有系统影响 无影响

场景及价值描述

通过多维度同环比的统计图,客户可以更全面地分析数据,深入了解各维度之间的关系和变化趋势,从而更好地评估业务表现、识别问题和机会,并做出相应的决策和策略调整

产品示例图

产品示例图URL

4、统计图中层级字段支持设置展示层级

发布状态 计划发布

对现有系统影响 无影响

场景及价值描述

使用场景:使用统计图时,可以配置如主属部门、归属部门等层级字段展示某一层级部门的数据,并且可以筛选某一层级部门的数据;比如在主属部门作为维度时设置了展示第2层级的数据,那么仅展示第2层级主属部门的数据,同时可搭配维度重命名的能力来更改维度字段的名称为2级主属部门,方便用户理解当前维度表达的含义。
价值说明:通过该配置我们可以快速了解每个层级的数据情况,从而更好的理解数据,有助于提高企业数据的价值和应用效果。

产品示例图

产品示例图URL
产品示例图URL
产品示例图URL

6.2 订阅管理

1、图表支持批量订阅

发布状态 计划发布

对现有系统影响 无影响

场景及价值描述

使用场景:用户在数据分析过程中需要从不同的维度、不同的业务场景等综合查看数据,需要同时订阅多张报表的数据,确保分析的数据是全面的,分析的过程是便捷的。
价值说明:用户可以在一个订阅任务中订阅多张报表,订阅任务仅推送一次,避免对用户造成消息打扰;批量订阅的图表通过分屏视图的形式展示,用户查看更加便捷。

产品示例图

产品示例图URL
产品示例图URL

7 快消行业解决方案

7.1 快消拜访管理

1、外勤计划/临时拜访签到后支持调整协访人

发布状态 全网

对现有系统影响 无影响

场景及价值描述

使用场景:
外勤人员拜访客户,需要上级支持协访,一般会提前做好协访相关计划。当打卡进店后,若临时需要上级协访,则需调整协访计划。
价值说明:
外勤拜访客户打卡签到后,允许灵活调整协访计划,补充完善外勤协访场景
功能介绍:
1.外勤类型的协访人节点,新增配置项【签到后允许修改协访人】
2.开启【签到后允许修改协访人】后,此外勤类型的计划/临时外勤,允许签到后修改协访人

产品示例图

产品示例图URL

2、外勤日历右上角【更多】菜单中能力支持自定义显示

发布状态 灰度

对现有系统影响 体验变更

场景及价值描述

使用场景:
企业会对外勤所需执行的外勤类型放在自定义的首页中,方便外勤人员在同一入口执行。目前系统的外勤日历页面右上角【更多】菜单中能力不支持企业自定义控制显示,会增加企业的外勤管理成本、培训成本。
价值说明:
根据企业需求,灵活控制外勤日历【更多】菜单能力的显隐,降低企业外勤管理成本、培训成本。
功能介绍:
1.此能力为灰度项能力,有需要的企业可联系CSM/实施在企信发普通审批至对应的产品经理及研发处理;
2.后续支持外勤日历设计器能力,再由企业自行配置。

3、外勤地图按时间段筛选时,清晰查看按天维度的连线

发布状态 全网

对现有系统影响 体验变更

场景及价值描述

使用场景:
销售主管查看外勤地图时,一般会按时间段(一周)筛选查看团队人员这一周的拜访线路;希望外勤地图按时间段筛选,支持清晰区分是哪一天拜访路线。
价值说明:
外勤地图按时间段筛选时,支持7天以内的跨天连线可清晰区分,提升上级查看下级人员的操作效率,降低认知成本。
功能介绍:
1.外勤地图按时间段筛选,若筛选日期段≤7日,则跨天连线可清晰区分,且支持显隐具体某天的连线。

产品示例图

产品示例图URL

4、app端外勤日历列表中,点击查看门店详情入口样式优化

发布状态 灰度

对现有系统影响 体验变更

场景及价值描述

使用场景:
外勤人员使用移动端外勤日历时,不太能理解外勤卡片上客户名称旁边的的小三角icon是代表进入至客户对象详情页面,及点击卡片能进入到外勤动作列表页的交互逻辑。希望能明确区分进入到各二级页面的交互逻辑。
价值说明:
清晰区分外勤卡片进入二级页面的交互逻辑,降低用户的认知成本。
功能介绍:
灰度此能力后,外勤日历的外勤卡片下方新增【查看外勤详情】的入口

产品示例图

产品示例图URL

5、出海场景,国内外往返系统能自动切换定位模式

发布状态 全网

对现有系统影响 体验变更

场景及价值描述

使用场景:
企业员工出海,当有国内外往返时,希望能支持自动切换国内外的地图定位;
价值说明:
出海用户使用Android无需重新下载APP、清除系统缓存,系统可自动切换定位模式,降低用户的操作成本。
功能介绍:
1.购买了谷歌lincense的企业, 才会有自动检测国内外的处理机制。
2.处理机制:每次定位都会判定当前所属区域, 根据所属区域来判定使用哪一种定位模式 , 正常情况下, 如果所属区域变化时 , 下一次定位就会使用正确的定位方式 。

6、数据上报底部汇总字段按产品分类展示

发布状态 全网

对现有系统影响 体验变更

场景及价值描述

使用场景:
外勤人员数据上报采集数据后,希望可按产品分类维度查看采集的合计信息。
价值说明:
1.数据上报合计支持更丰富的维度聚合展示
2.数据上报合计信息支持收起展开,用户查看效率更高
功能介绍:
1.外勤动作->数据上报->节点设置->底部合计展示,可配置【显示整体汇总】、【显示产品分类汇总】

产品示例图

产品示例图URL

7、IOS外勤拍照支持调整焦距

发布状态 全网

对现有系统影响 体验变更

场景及价值描述

使用场景:
外勤人员拜访客户时会对店内的产品陈列拍照,当拍摄主体体积较大时,现有纷享水印相机无法调整焦距,导致拍摄主体拍不全。
价值说明:
支持外勤拍照调整焦距,降低拍摄操作成本。
功能介绍:
1.IOS支持在现有1.0x焦距再缩短至0.5x焦距(ios系统版本10.0以上并且支持广角的设备上实现);
2.Android由于受限于系统开放的api,暂不支持放大焦距(后续版本会支持调用系统原相机能力)。

8、外勤动作支持校验定位

发布状态 全网

对现有系统影响 逻辑变更

场景及价值描述

使用场景:
快消行业业代外勤访店过程中,个别业代为了套取公司陈列激励,在多个拜访门店距离相邻的情况下,在打卡陈列未达标门店后,执行陈列拍照动作,跑到陈列达标门店下拍摄陈列照后再离店;企业在没有接入AI窜拍能力时,希望通过外勤动作校验距离,记录动作偏离距离,以便运营人员查看分析。
价值说明:
通过外勤动作维度校验与拜访对象的距离,提高外勤人员造假成本,提升运营人员查看分析外勤造假数据效率
功能介绍:
1.外勤类型设计器->外勤动作节点->新增配置项【动作执行时,校验地址定位】
2.用户在app执行开启此配置项的动作时,会校验当前定位与拜访主对象的地址定位偏差,当超出允许误差范围距离时,将会提示用户是否继续执行
3.超出允许误差范围的动作执行后,则会在高级外勤对象的外勤信息页面记录偏差距离

9、签到后支持自动跳转至第一个动作

发布状态 全网

对现有系统影响 体验变更

场景及价值描述

使用场景:
某些企业的外勤作业场景中需要在外勤中配置签到按钮,让外勤人员点击确认签到。希望系统签到后,直接跳转至第一个外勤动作,无需再多点一步。
价值说明:
签到后支持自动跳转至第一个外勤动作,降低用户的操作成本。
功能介绍:
1.外勤类型->签到按钮->节点设置新增配置项【自动跳转:签到后,自动跳转至第一个动作】
2.启用此配置项后,用户点击签到按钮,自动跳转至第一个外勤动作

产品示例图

产品示例图URL

10、临时拜访的附近客户推荐支持隐藏已签到拜访的客户

发布状态 全网

对现有系统影响 体验变更

场景及价值描述

使用场景:
外勤人员临时拜访时,系统会自动推荐展示附近的客户,方便外勤人员快速选择拜访。但现在没有过滤当天已拜访的客户,希望系统不推荐已签到拜访客户。
价值说明:
优化临时拜访时附近客户推荐的逻辑,降低用户的操作成本、认知成本
功能介绍:
1.【外勤规则-附近客户推荐】中新增配置项【临时拜访不推荐当日已拜访的客户】
2.开启此配置项后,此规则的人员做临时拜访时,则不会推荐当日已拜访的客户

产品示例图

产品示例图URL

11、今日路线已执行不允许切换路线,增加线路类型的判断

发布状态 全网

对现有系统影响 逻辑变更

场景及价值描述

使用场景:
【银鹭】路线模式下外勤人员有主线,兼线之分。现管理诉求为若主线已拜访,则选择其余主线时不允许执行,只允许选择兼线;同理兼线逻辑。
价值说明:
优化主线、兼线业务场景下与系统【当日路线已执行,不允许做路线变更】设计冲突的逻辑
功能介绍:
1.企业开启【当日路线已执行,不允许做路线变更】后,当有主线、兼线场景时,则支持主线执行后选择兼线,兼线执行后选择主线

12、数据上报SKU按SPU聚合上报优化

发布状态 全网

对现有系统影响 体验变更

场景及价值描述

使用场景:
数据上报SKU按SPU聚合展示能力优化相关交互、数据展示逻辑
价值说明:
数据上报SKU按SPU聚合展示能力优化相关交互、数据展示逻辑,提升用户体验
功能介绍:
1.SPU下的SKU名称显示颜色,默认为橘色高亮显示,跟随品牌色控制;
2.本次上报页签下不显示非本次上报的SKU数据;
3.必分销品页签,点开聚合商品SPU,不显示了非必销产品SKU。

13、铺货标准组件及报告(875大项能力)

发布状态 全网

对现有系统影响 逻辑变更

场景及价值描述

使用场景:
快消品牌商为了更好的精耕渠道,对门店执行铺货陈列、分销产品有业务管控标准;
外勤人员拜访门店,采集门店的产品陈列、分销数据,能够直观的对比铺货陈列标准,根据业务标准,查看此门店整体是否达标,以及哪些产品的陈列、必销标准的明细是否有达成。
价值说明:
1.支持企业自定义上传外勤动作执行示例图,铺货标准示例图,将企业的外勤业务管理诉求下达至外勤人员,外勤人员参考要求更规范执行外勤作业;
2.支持外勤人员在执行外勤动作时查看此动作的数据报告,例如铺货报告;可直观清晰的在外勤作业中看到数据的表现情况;
3.提供铺货标准管理的数据报告,丰富了客户铺货场景的画像,及支持在外勤作业中铺货数据的呈现,补全铺货标准管理业务场景整体能力。
功能介绍:
1.购买了【快消行业套件】【TPM营销费用管理应用】,企业开箱刷上在客户对象、自定义页面中刷上两个组件【铺货达成汇总】【铺货达成明细】,支持企业对组件进行相关能力设置
2.【铺货达成汇总】【铺货达成明细】此两个组件与铺货标准管理能力强相关,需对铺货标准管理相关配置完成后,组件中数据即可展示;
3.外勤类型->外勤动作->节点设置->新增配置项【动作按钮点击事件】;
4.【动作按钮点击事件】支持添加未执行、已执行时机的图片、跳转自定义页面事件。

7.2 快消促销导购管理

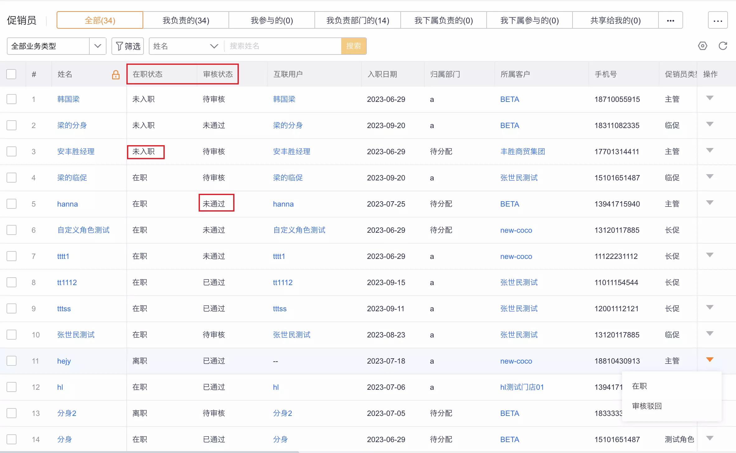
1、新增促销员审核驳回,优化促销员入职审核流程

发布状态 全网

对现有系统影响 无影响

场景及价值描述

使用场景:适用于促销员入职审核
价值说明:新增促销员审核驳回功能,优化促销员入职审核流程,使其更贴合业务场景
功能说明:1、促销员对象中「在职状态」字段新增“未入职”,「审核状态」字段新增「未通过」
2、添加促销员/促销员扫码申请后,管理人员根据实际情况进行审核

产品示例图

产品示例图URL

7.3 经销商管理

1、非聚合规则中支持查找关联字段,积分触发条件中,放开对象下的查找关联字段

发布状态 计划发布

对现有系统影响 无影响

场景及价值描述

使用场景:触发条件中需要选到关联对象的字段。例如:订单关联了客户,触发条件中选到客户。
价值说明:拓展积分规则使用场景
功能介绍:非聚合规则中支持查找关联字段:积分触发条件,放开对象下的查找关联的字段

2023-10-10
0 0